โปรไฟล์โปรเจคเตอร์
ภาพรวม
โปรไฟล์โปรเจคเตอร์เป็นเครื่องมือวัดแบบออปติคอลชนิดหนึ่ง หลักการวัดจะคล้ายคลึงกับออปติคอลไมโครสโคป ชิ้นงานจะถูกวางบนแท่นวาง และแสงจะส่องไปที่ชิ้นงานจากด้านล่าง ซึ่งจะทำให้โปรไฟล์ของชิ้นงาน หรือเงาปรากฏบนหน้าจอ มีการใช้ระบบเลนส์ Telecentric เพื่อให้ได้การวัดที่แม่นยำ
แต่เดิมนั้นมีการพัฒนาโปรไฟล์โปรเจคเตอร์ขึ้นเพื่อใช้ตรวจสอบภาพรวมของชิ้นงาน ส่วนรุ่นที่มีฟังก์ชันการวัดนั้นถูกผลิตออกมาในภายหลัง โปรไฟล์โปรเจคเตอร์ขนาดใหญ่บางรุ่นมีเส้นผ่านศูนย์กลางของหน้าจอมากกว่า 1 ม.
ข้อดีบางประการของโปรไฟล์โปรเจคเตอร์มีดังนี้
- การวัดชิ้นงานโดยไม่สัมผัส
- สามารถวัดได้แม้กับชิ้นงานที่มีขนาดเล็กหรือมีรูปร่างซับซ้อน
- ไม่จำเป็นต้องมองผ่านเลนส์ใกล้ตาเหมือนไมโครสโคปสำหรับการวัด ซึ่งจะช่วยให้สามารถตรวจสอบพร้อมกันได้หลายคน
มีการใช้งานโปรไฟล์โปรเจคเตอร์อย่างแพร่หลายในการตรวจสอบและวัดสิ่งต่างๆ เช่น ชิ้นส่วนอิเล็กทรอนิกส์และส่วนประกอบที่ต้องการความแม่นยำ โดยทั่วไปแล้วจำเป็นต้องใช้ทั้งเวลาและความพยายามในการอ้างอิงจากจุดอ้างอิง (Datum) และการกำหนดตำแหน่งของชิ้นงาน
โครงสร้างและการประยุกต์ใช้งาน

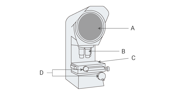
- A
- จอฉายภาพ
- B
- เลนส์ฉาย
- C
- แท่นวางแบบหมุนได้
- D
- มือจับเลื่อนแท่นวาง (มือจับแกน X และ Y)
วิธีการใช้โปรไฟล์โปรเจคเตอร์
- วางชิ้นงานบนแท่นวัด
- กำหนดตำแหน่งของสเกลบนภาพขยายที่ฉายบนหน้าจอ แล้ววัดขนาด นอกจากนี้ยังสามารถใช้แท่นวาง XY เพื่อวัดขนาดตามระดับการเคลื่อนที่ของแท่นวางได้อีกด้วย
- โปรไฟล์โปรเจคเตอร์บางรุ่นจะใช้สเกลที่อ่านด้วยการบีบชิ้นงานเข้าหากัน โปรไฟล์โปรเจคเตอร์ดังกล่าวจะอ่านความยาวจากสเกลระหว่างคู่ของสายการอ่าน
ข้อควรระวังในการใช้งาน
- ช่วงการปรับเทียบสำหรับโปรไฟล์โปรเจคเตอร์คือ 6 เดือนถึง 3 ปี
โปรไฟล์โปรเจคเตอร์รุ่นล่าสุด
โปรไฟล์โปรเจคเตอร์รุ่นล่าสุดสามารถวัดขนาดได้ทันทีโดยไม่ต้องเลื่อนแท่นวาง XY หรือปรับโฟกัส ทำให้สามารถวัดวัตถุจำนวนมากได้ในเวลาอันสั้น
สำหรับข้อมูลเพิ่มเติมเกี่ยวกับโปรไฟล์โปรเจคเตอร์รุ่นล่าสุดของ KEYENCE ที่สามารถวัดได้ 1000 ครั้งใน 3 วินาที โปรดคลิกที่นี่



