Feature ของ Datum ชนิดหลักๆ
Feature ของ Datum อาจเป็นระนาบ เส้น หรือจุด ซึ่งต้องเลือกใช้ตามเกณฑ์ความคลาดเคลื่อนและ Feature ที่ต้องการระบุ
ระนาบ Datum
ระนาบ Datum คือระนาบบนชิ้นงานที่กำหนดให้เป็น Datum ซึ่งอาจเป็นระนาบภายนอก (ระนาบ Datum) หรือระนาบกึ่งกลาง (ระนาบกึ่งกลาง Datum) ก็ได้
มาตรฐาน ISO และ ASME ได้ให้ความหมายของคำว่า “ระนาบ Datum” ไว้ดังนี้:
- ISO 5459 : 2011
- Datum ที่เป็นระนาบในอุดมคติ
- ASME Y14.5-2009
- ระนาบของการจำลอง Feature ของ Datum ที่กำหนดขึ้นจาก Feature ของ Datum
ระนาบ Datum
ระนาบ Datum คือ Datum ที่กำหนดขึ้นบนพื้นผิวภายนอกของชิ้นงาน โดยในการใช้พื้นผิวเรียบเป็น Datum จะใช้สัญลักษณ์การระบุดังต่อไปนี้:
สัญลักษณ์การระบุ

การกำหนด Datum

- a
- Feature ของ Datum ที่จำลองขึ้น = พื้นผิวของแผ่นพื้นผิวเรียบ
- b
- Datum = ระนาบที่กำหนดขึ้นจากแผ่นพื้นผิวเรียบ
พื้นผิวของชิ้นงาน (Feature ของ Datum) ที่ระบุให้เป็น Datum อาจไม่สม่ำเสมอหรือโก่งงอ สามารถกำหนดระนาบ Datum A ขึ้นได้โดยใช้แผ่นพื้นผิวหรือระนาบอื่นที่มีความแม่นยำมากกว่ารองรับพื้นผิวที่กำหนดให้เป็น Datum ระนาบที่รองรับคือ Feature ของ Datum ที่จำลองขึ้น
ระนาบกึ่งกลาง Datum
ระนาบกึ่งกลาง Datum คือระนาบในอุดมคติที่กำหนดขึ้นบนระนาบกึ่งกลางของชิ้นงาน โดยในการใช้ระนาบกึ่งกลางของพื้นผิวที่ขนานสองพื้นผิวเป็น Datum จะใช้สัญลักษณ์การระบุดังต่อไปนี้:
สัญลักษณ์การระบุ

การกำหนด Datum

- a
- Feature ของ Datum ที่จำลองขึ้น = พื้นผิวหน้าสัมผัสเรียบสองพื้นผิว
- b
- Datum = ระนาบที่กำหนดขึ้นจากพื้นผิวหน้าสัมผัสเรียบสองพื้นผิว
พื้นผิวของชิ้นงาน (Feature ของ Datum) ที่ระบุให้เป็น Datum อาจไม่สม่ำเสมอหรือโก่งงอเช่นเดียวกับระนาบ Datum สามารถกำหนดระนาบกึ่งกลาง Datum ได้โดยใช้ระนาบที่แม่นยำรองรับพื้นผิวที่กำหนดให้เป็น Datum จากทั้งสองด้าน ระนาบที่รองรับทั้งสองคือ Feature ของ Datum ที่จำลองขึ้น ระนาบในอุดมคติที่กำหนดจาก Feature เหล่านี้คือระนาบกึ่งกลาง Datum
เส้น Datum
เส้น Datum คือเส้นตรงในอุดมคติที่กำหนดขึ้นที่กึ่งกลางของท่อทรงกระบอก เพลาทรงกระบอก หรือขอบ เช่น ขอบของชิ้นงาน เส้น Datum อาจเป็นแกน Datum หรือเส้นแกน Datum ก็ได้ โดยทั่วไปแล้วจะกำหนดเส้น Datum ขึ้นที่กึ่งกลางของท่อทรงกระบอกหรือเพลาทรงกระบอกของชิ้นงาน และจะไม่ค่อยกำหนดขึ้นไว้ที่ขอบ
ในส่วนนี้จะอธิบายถึงกรณีที่กำหนดแกน Datum ขึ้นบนท่อทรงกระบอกและแกนทรงกระบอก มาตรฐาน ISO และ ASME ได้ให้ความหมายของคำว่า “แกน Datum” ไว้ดังนี้:
- ISO 5459 : 2011
- Datum ที่เป็นเส้นตรงในอุดมคติ
- ASME Y14.5-2009
- แกนของการจำลอง Feature ของ Datum ที่กำหนดขึ้นจาก Feature ของ Datum
แกน Datum (ท่อทรงกระบอก)
Datum ที่กำหนดขึ้นที่กึ่งกลางของท่อทรงกระบอกจะใช้สัญลักษณ์ต่อไปนี้ในการระบุ:
สัญลักษณ์การระบุ

การกำหนด Datum

- a
- Datum (เส้นแกน Datum) = เส้นแกนของทรงกระบอกที่ระบุไว้สูงสุด
- b
- Feature ของ Datum ที่จำลองขึ้น = ทรงกระบอกที่ระบุไว้สูงสุด
พื้นผิวท่อทรงกระบอกของชิ้นงานที่ระบุให้เป็น Datum (Feature ของ Datum) อาจไม่สม่ำเสมอหรือโก่งงอ การใส่เพลาที่มีความแม่นยำซึ่งพอดีกับท่อนี้ จะทำให้กำหนด Datum ในท่อนี้ได้ ในที่นี้ เพลาที่ใส่เข้าไปคือ Feature ของ Datum ที่จำลองขึ้น และเส้นแกนคือเส้นแกน Datum
แกน Datum (เพลาทรงกระบอก)
Datum ที่กำหนดขึ้นที่กึ่งกลางของเพลาทรงกระบอกจะใช้สัญลักษณ์ต่อไปนี้ในการระบุ:
สัญลักษณ์การระบุ

การกำหนด Datum

- a
- Datum (เส้นแกน Datum) = เส้นแกนของทรงกระบอกที่มีเส้นรอบวงเล็กที่สุด
- b
- Feature ของ Datum ที่จำลองขึ้น = ทรงกระบอกที่มีเส้นรอบวงเล็กที่สุด
พื้นผิวเพลาทรงกระบอกของชิ้นงานที่ระบุให้เป็น Datum (Feature ของ Datum) อาจไม่สม่ำเสมอหรือโก่งงอ เมื่อใส่เพลาเข้าไปในตัวโครงที่มีความแม่นยำซึ่งพอดีกับเพลา จะทำให้กำหนด Datum ในโครงสร้างขึ้นได้ ในที่นี้จะถือว่าตัวโครงเป็น Feature ของ Datum ที่จำลองขึ้น และเส้นแกนคือ Feature ของ Datum
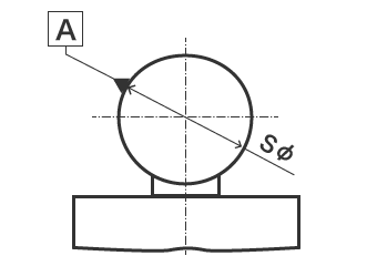
จุด
จุด Datum ที่กำหนดขึ้นที่กึ่งกลางของชิ้นงานทรงกลมจะใช้สัญลักษณ์ต่อไปนี้ในการระบุ:
สัญลักษณ์การระบุ

การกำหนด Datum

- a
- Datum = ศูนย์กลางของทรงกลมที่มีเส้นรอบวงเล็กที่สุด
- b
- Feature ของ Datum ที่จำลองขึ้น = จุดสัมผัสสี่จุดรูปแบบบล็อครูปตัว V (แสดงด้วยทรงกลมที่มีเส้นรอบวงเล็กที่สุด)
พื้นผิวทรงกลมของชิ้นงานที่ระบุให้เป็น Datum (Feature ของ Datum) อาจไม่สม่ำเสมอหรือโก่งงอ เมื่อสร้างจุดสัมผัสสี่จุดขึ้นด้วยบล็อครูปตัว V สองบล็อค พื้นผิวของทรงกลม Feature ของ Datum จะเป็น Feature ของ Datum ที่จำลองขึ้น และจุดศูนย์กลางจะเป็นจุด Datum


